Kysymykset ja vastaukset
22 kysymystä
VESA 100x200
Pystyykö keskilevyn kääntämään pystysuuntaan, jotta sopisi SONY:n VESA 100x200 televisioon?
MaijaEi, mutta muuntimella saa yhtenesopivaksi verk.com/fi/product/78429/Mozi-VESA-muunnin-75x75-100x100mm-120x180-200x100-200x200mm
Vilho
Telineen käyttö T.16000M Joystickin "jalkana"
Pystyykö tämän tuotteen nivelet kannattelemaan n. 1kg painavaa joystickkia ja vastustamaan käden liikkeitä? Tarkoitus olisi asentaa seinään menevä osa pöydän alustaan ja tuoda sieltä Televisioon menevä osa jalustaksi Joystickille
CastorM, 25–34vEn usko, että toimii kovin hyvin tähän tarkoitukseen.
Denis35–44v
Miten tapahtuu tv:n kiinnitys varren päähän?Tarkoitus käyttää matkailuvaunussa ,joka parkissa vaunualueella.Tv täytyy viedä talviaikaan kotiin.
Kalamies65 tai yliKiinnityslevy televisioon ja sitten koko paketti yhdellä isolla ruuvilla telineeseen.
Denis35–44v
Voiko tähän kiinnittää tämän https://verk.com/jrvqf
Juuso17 tai alleVoi
kjanne35–44v
Voiko tähän kiinnittää myös pelinäytön?
Juho17 tai alleKyllä voi mutta riippuu näytön VESA-liitännästä.
VJussiM, 35–44v
millä menee seinää kiinni?
pitääskö ruuvata seinään
abcd123456789M, 17 tai alleHei,
tulee ruuveilla seinään, ruuvit puu- tai kipsilevyseinään ja betoni- tai tiiliseinään tulevat mukana paketissa.
Delfl25–34v
Sopiiko tämä teline curved 40"-43" näytölle
Hannu35–44vHei,
Teline sopii myös kaareville 23-42" televisioille, mutta kannattaa tarkistaa, että TV:ssä on VESA 75 x 75, 100 x 100, 200 x 100 tai 200 x 200 -ruuvipaikat. Nuo ovat siis mittoja muodossa mm x mm.
Mikkopl25–34v
käykö 24 tuumaiseen benq:in näyttöön
ananaa18–24vHei,
Riippuu näytöstä, pelkän merkin perusteella mahdoton sanoa. Näytössä tulee olla jokin tuoteselosteessa mainituista VESA-standardeista.
JyriLM, 25–34v
22PFL3404H/12 Philips
käykö osikossa olevaan tv-hen?
Töllötin55N, 55–64vKäy, koska mainitsemassasi TV:ssä on VESA-kiinnitys
PiudeN, 35–44vHei,
Kyllä käy kyseiseen televisioon.
melinatN, 25–34v
tuleeko mukana ruuvit television kiinnitykseen
ollihoiM, 55–64vTulee
TimPe00725–34vHei,
Kyllä tulee.
JyriLM, 25–34v
Pystyykö telineen lukitsemaan tiettyyn asentoon niin ettei se käänny pienistä tönäisyistä?
Tee se itse ja voita17 tai allePeriaatteessa saa, mutta aivan hemmetin vaikea vääntää sitä ruuvia, joka lukitsee näytön paikoilleen.
PiudeN, 35–44vHei,
Ei valitettavasti pysty.
JyriLM, 25–34v
Paljonko tv saa siirrettyä sivusuunnassa ?
Kuinka paljon ko teline mahdollistaa tv siirtämisen sivusuunnassa ? Etsin tuotetta, jossa tv paikkaa voisi nimenomaan siirtää sivuttain n. 50-60 cm. Eli varsi kokonaan oikealle vs vasemmalle, paljonko tv siirtyy sivuttain ? Muita ideoita ?
etuvartio35–44vTuotteen tiedoissa sanotaan, että etäisyys seinästä: 89-466 mm. Tuo 466 mm on siis teline täysin suorana, mutta täysin suorana telineen voi siirtää seinässä olevasta nivelestä kiinni seinään, joten vastaus on, että TV:n paikkaa voi siirtää telineen keskikohdasta sivulle 46,6 cm.
PiudeN, 35–44vHei,
Etäisyys maksimissaan noin 47 cm. Tämä mitta joko suoraan poispäin seinästä, vasemmalle tai oikealle.
Pidemmällä etäisyydellä esim. seuraavat tuotteet:
JyriLM, 25–34v
Kumpi on määräävä tekijä näytön koko vai painorajoitus?
Kuvauksessa lukee että soveltuu 23-43" televisiolla, mutta samalla että maksimi kantavuus 30kg. Eli voiko tätä käyttää esim. verk.com/fi/product/37207/fvndk/LG-43LF540V-43-LED-televisio-300-PMI
kanssa?
jonifin35–44vVäittäisin itse, että paino on määräävämpi tekijä. VESA 200x200 kiinnityksen perusteella televisio menee kyllä kiinni telineeseen, vaikka näytön koko onkin yhden tuuman suositeltua maksimikokoa isompi.
PiudeN, 35–44vHei,
teline on yhteensopiva television kanssa.
Delfl25–34v
Onko tämä seinäkiinnitin ( + 28" TV ) tarpeeksi vahvaa tekoa asuntoautoon ?
KaravaanaritN, 55–64vValmistaja ei ole testannut Mozi-telineitä asuntoauto-käytössä, joten emme voi mennä tästä takuuseen.
PetraR25–34v
Saako tuota osaa missä on näyttö tai tv käännettyä?
Tarkoitan siis tuota ohutta kohtaa johon tv laitetaan kiinni saako sitä käännettyä siten että jos on kiinnitetty seinään joka on vino ja tarvisi saada suoraan, en tarkoita kallistusta vaan vaakatasosta "vinoon".
dhfbcer bvnejk vncikccn e17 tai alleSaa kallistettua
Hhhanu45–54vHei,
telinettä ei voi kallistaa vaakatasossa.
Delfl25–34v
Terve, haluaisin vain varmistaa että meneekö kyseiseen teeveeseen.
http://www.samsung.com/ie/support/model/LE32C530F1WXXU (Ulkoinen palvelu) (Avautuu uuteen välilehteen) tuossa on kyseinen tv. Minun mielestäni pitäisi mennä ongelmitta.
OskariM, 18–24vHei,
kyllä menee, televisiossa on VESA 200 x 200 -kiinnitysstandardi.
Delfl25–34v
Millä etäisyydellä seinäkiinnikkeen ruuvit ovat?
Etsin seinätelinettä jonka voin asentaa hirsitalon seinään ja näin ollen seinään ruuvattavan kiinnikkeen ruuvien välit täytyy osua hirsien kanssa yksiin.
a1a235–44vKiinnitysreikien väli reiän keskeltä mitaten on jotakuinkin 125mm.
saavi25–34vYlimpien ja alimpien reikien etäisyys on 12,5 cm reiän keskeltä keskelle mitattuna.
MTnenM, 55–64vMeillä ei ole valitettavasti mahdollisuutta mitata tätä, eikä valmistaja ilmoita seinälle tulevien ruuvinreikien etäisyyksiä.
Mutta kokonaisuudessaan suojan kanssa tuo seinään tuleva osuus on 162 x 82 mm, eli ruuvit ovat noin 11-13 cm päässä toisistaan. Telineen ohjekirjassa on kuitenkin vinkki, miten telineen voi asentaa, vaikka seinässä olevat kiinnityskohdat eivät menisikään yksi yhteen telineen kanssa:
"Jos aiotussa asennuskohdassa ei ole
koolausta tarpeeksi lähellä, voit kiinnittää
erillisen puu- tai vanerilevyn
koolausten välille ja kiinnittää seinäkiinnike
siihen."
PetraR25–34v
Käykö tämä' teline Samsung smart tv 32"
Alf63M, 55–64vMinulla tuossa telineessä roikkuu Samsungin Smart-tv 40" ja asennus onnistui hyvin.
MTnenM, 55–64vTeline sopii televisioille, joissa on jokin seuraavista VESA-standardeista: 75 x 75, 100 x 100, 200 x 100, 200 x 200. Tieto löytyy television teknisistä tiedoista tai käyttöoppaasta.
Delfl25–34v
Käykö tamä teline Salora 19" LED televisio DVD-soittimella, 12V, USB telkulle?
CBR 1100M, 45–54vNäyttää olevan niin kevyt laite tuo Salora 19"+DVD, että sen puolesta sopii, jos vain kiinnityspisteet takana ovat VESA-standardin mukaiset eli joku seuraavista: 75x75, 100x100, 200x100 tai 200x200 mm.
MTnenM, 55–64vVESA-luvun perusteella 75x75 sopii. Nuo tuumakoot televisioiden telineissä ovat lähinnä valmistajan antamia arvioita ja suosituksia.
Tuossa Salorassa on takana VESA-reikien lisäksi myös SCART, SPDIF- ja 12V-liitännät. Toki tämä teline saattaa suuren metallilevynsä kanssa peittää nuo liitännät, ilman kokeilemista se on valitettavasti mahdoton sanoa. Televisiossa on siis VESA-reiät 75 mm päässä toisistaan, jotka ovat tämän telineen lähimpänä olevat reiät. Teline sopii myös 200 x 200 mm reikiin, joten levy on sen kokoinen.
PetraR25–34v
Tuleeko paketissa mukana välipalikoita telineen ja tv:n kiinnityskohtien väliin?
Omassa tv:ssä siis alemmat kiinnityskohdat koloissa.
Chambowgna25–34vKiinnitystarvikkeissa on mukana monenmoista prikkaa, 4mm paksuin malli näistä. Luovuudella tämän kiinnitystarvikepaketin kanssa pääsee kyllä todella pitkälle, itselläni kului pakollisten nivelkiinnitysosien lisäksi pakkauksen sisällöstä n. 20% tarpeista, kun kiinnitin telineen koolauspalkkiin.
Mitään erikoisesti välipalikaksi tarkoitettua nippeliä tässä ei tule erikseen mukana.
saavi25–34vPaketissa on mukana ns. VESA-standardin mukainen kiinnityslevy TV:n kiinnittämiseksi tukivarteen. Levyssä on reiät 75x75, 100x100, 200x100 ja 200x200 mm kiinnityksille. Onhan teeveesi kiinnitysreiät VESAn mukaiset?
MTnenM, 55–64vTulee
ooskari25–34v
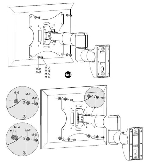
Kuinka monta ruuvia?
Kuinka monella ruuvilla tämä kiinnitetään seinään? Onko ruuvinreikiä kuinka monta?
FinKing18–24vKiinnityslevyssä on 6 reikää, joista keskimmäiset reiät ovat n. sentin koholla muusta taustalevystä. Levy on siis U:n muotoinen, 4x reiät kulmissa ja nuo keskireiät, joita pelkästään itse käytin telinettä kiinnittäessäni. Eli ihan fiilispohjalta tämän voi taustasta riippuen vetää kiinni 2-6 ruuvilla (6 ruuvia + proput mukana paketissa).
saavi25–34vRuuvireikiä seinään kiinnitettävässä kappaleessa on yhteensä 8 (kahdeksan). Kaksi keskimmäistä riittää levyseinän puukoolaukseen kiinnittämiseksi, jos koolaus on riittävän tukevaa puuta ja ruuvit pystyy kiinnittämään sivusuunnassa KESKELLE koolausta. Puu- tai hirsiseinään voi laittaa reunimmaisiin reikiin tarvittavan määrän lisäruuveja ja kiviseinään samoin, kunhan käyttää proppuja, jotka tulevat ruuvien lisäksi mukana. Asennusohjeet ovat suomeksi ja riittävän yksityiskohtaiset.
MTnenM, 55–64vPuu- tai kipsilevyseinään kahdella ruuvilla, eli teline kiinnitetään koolaukseen.
Betoni- tai tiiliseinään se kiinnitetään kuudella ruuvilla.
PetraR25–34v
kiinnitys
Miten teline kiinnitetään seinään? porataanko ruuvi seinään ja telineessä sitten jonkinlainen hakanen millä pysyy ruuvin varassa vai miten?
SnootybuffM, 17 tai alleKiinnityslevy ruuvataan suoraan kiinni pintaan, ilman välikappaleita.
saavi25–34vTelineen seinään kiinnitettävässä osassa on 8 reikää. Seinäkiinnikkeelle merkitään vesivaa'an ja kynän avulla ruuvinpaikat seinään ja porataan ne. Kiviseinään pitää laittaa reikiin proput ja porausreiät tehtävä riittävän suuriksi proppuja varten. Puuseinä tuskin vaatii proppuja, mikäli riittävän paksu tai hirrestä. Kipsi- tms. seinään kiinnitettäessä ruuvien (ainakin kaksi keskimmäistä# on osuttava koolauksen keskelle ja koolausmateriaalin on oltava riittävän tukevaa puuta. Kun reiät on valmiit kiinnitetään levy ruuvein seinään, minkä jälkeen voidaan koottu varsi kiinnittää siihen ja lopuksi TV varren päähän. LUE OHJEET (on myös suomeksi) HUOLELLA ennen kuin teet mitään!
MTnenM, 55–64vTeline porataan suoraan seinäään sellaisenaan. Tuo kuvassa näkyvä musta osa on poraamisen jälkeen paikoilleen asennettava "decorative cover", joka siis lähinnä vain kliksautetaan telineen päälle.
PetraR25–34v
